主要的榫接結構
mortise structure
ホゾ穴構造
|
介紹幾種主要的榫接結構。 |
|||
|
1. 直榫: 能抵抗各方向的外力。 榫接的部位有對接、中檔接、斜接、端接。榫接的種類有暗榫、 三缺榫、貫穿榫、單添榫、雙添榫、多榫及榫加木楔等。 (1) 暗榫常用於柱與橫檔接合 (圖A)。 |
|||
|
|
|||
![]() |
![]() |
||
![]() |
![]() |
||
|
|
|||
|
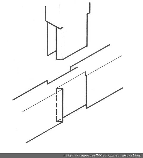
2. 鳩尾榫接: 能抵抗拉力與推力,適合實木板料的接合。 此為木工上最強固的接合法之一,因其能抵抗除插入方向外的每一方向的拉力或推力。 (1) 傳統家具常露出鳩尾梓,以示品質及手工的優良(圖A)。 因其可抵抗抽屜拉出時的拉力(圖B)。
|
|||
![]() |
![]() |
||
![]() |
![]() |
||
|
3. 其他常用接合法:
|
|||
![]() |
![]() |
![]() |
|
![]() |
![]() |
||
榫接
將一材料在側面鑿孔作榫眼(榫孔),另一材料在在末端作凸榫(榫頭),將二塊材料接合在一起,稱為榫接。
常見之榫接為直角,若榫頭之長度穿通榫孔深度,稱為通榫;若不穿通,稱為半榫。
一、常見榫接的用途
A、角接:二材料榫接成一角度,有平角接合常用於相框之接合;直立角接合,用來作箱櫃之接合。
B、平接:二材料側面對側面碰觸接合,常用來作地板、壁面及木瓦之接合。
C、槽接:如水箱製作。可防水分外漏。
卡榫 : 結合處為雙凸雙凹,組合後卡榫結合處即形成一根支柱,故強度極佳
參考資料
http://tw.knowledge.yahoo.com/question/?qid=1405111801515
http://kinchang.myweb.hinet.net/4-7.htm
http://kinchang.myweb.hinet.net/
http://blog.yam.com/decoration1984/article/42879162
----------------------------------------------------------------------------------------------------------------------------


-------------------------------------------------------------------------------------------------------------
木材接合
任何木製品大都由許多木件組合而成的,它們的接合方法有許多種,有的僅以榫頭、榫孔互相楔合,成為堅固物體,
有的則以五金配件相連接,而接合的目的無非是要改變材料的結構,增加其強度及美觀,或支撐物體,或增加其長度、
寬度、厚度等,在木材接合上常用的約可分為釘接、膠接及榫接三大類:
(一)釘接
係利用鐵釘、木螺釘、木釘、釘片、角鐵等接合的方式,優點是節省時間及材料,
但也破壞木材本身自然的紋理,且在塗裝後易遺留釘痕的缺點,結構上是較簡陋的。(圖4-1)
鐵釘

木螺釘
木釘

波形及山形釘片

角鐵
圖4-1 各種釘接材料
--------------------------------------------------------------------------------------------------
(1)使用鐵釘接合時應考慮的因素:
1、選擇鐵釘長度:鐵釘釘接的方法是利用鐵釘與木材間互相握著力,來穩定二塊或二塊以上的木料。
若鐵釘長度太短,握著力不夠,接合不牢,鐵釘長度太長,容易破壞木材纖維,施工困難且不經濟,
一般選擇要視物件承受的外力與用途而定,一般釘長以受釘材料厚度的1.42.5倍,如12mm的板厚,
可選擇2545mm釘長的鐵釘,板厚為3cm,則可選擇4275mm釘長的鐵釘。
2、為了增加鐵釘與材料間的握著力,鐵釘可採傾斜角度釘入材料中,因木材生長的結構中,
大部份的纖維導管是互相平行的,若鐵釘垂直釘入,容易與導管平行,則其握著力必減弱,
為增強握著力,可將鐵釘傾斜1045°,(圖4-2)
且接合時鐵釘避免釘在與木材紋路平行的線上,而造成材料劈裂。(圖4-3)
不佳 佳
不佳 佳
圖4-2 釘接時釘傾斜角度增加握著力 圖4-3 平行釘接容易劈裂
3、為減低破壞木材表面的紋理,可將頭部打扁或剪掉,減少木材外表釘痕。
4、為避免塗裝時暴露鐵銹或鐵釘痕,應將鐵釘埋入材料表面,用填平劑或小木塞填平。
(2)使用木螺釘接合時,應考慮的因素:
1、選擇木螺釘的長度:木螺釘的接合方法與鐵釘相似,差別在於木螺釘有螺紋的構造,選擇時釘長約為受釘材料厚度的1倍即可。
2、木螺釘使用時,應先使用沉孔鑽頭先行鑽一小孔,再旋上木螺釘。(圖4-4)(圖4-5)
3、勿用鐵鎚直接將木螺釘釘入木材內,如此會減弱木螺釘接著力量。
圖4-4 先用沉孔鑽頭鑽孔

圖4-5 木螺釘接合
(3)木釘接合時,應考慮的因素:
1、木釘孔安裝深度應加留1mm裕度,預留小木屑或膠屯集的空間。
2、木釘安裝為求緊密接合,於安裝前應上膠。
3、木釘接合通常使用於T形結構接合。
4、板料接合時,木釘直徑的選擇為板厚的1/31/2。
![]() |
![]() |
![]() |
![]() |
| 圖4-6 木釘接合 | |
-------------------------------------------------------------------------------------
圖4-7 釘片接合

圖4-8 角鐵接合
(二) 膠接
利用各種膠合劑來接合,常用的膠合劑有聚乙烯膠(白膠),接觸膠(強力膠),
環氧樹脂膠等,主要是用增加木材寬度、厚度、或不同材料接合時使用,亦時常搭配釘接或榫接同時使用。
(三) 榫接
係利用榫頭與榫孔相嵌的接合方法,其種類繁多,大多使用於家具及門窗的製作,其主要型式有下列幾種:
一、十字型接合
為一種最基本的接合法,主要使用於木材中部的接合,種類有十字搭接、十字承口搭接、十字V型承口搭接、
十字方榫接合等。(圖4-9)
![]() |
![]() |
| 十字搭接 | 承口搭接 |
![]() |
![]() |
| V形承口搭接 | 十字斜角搭接 |
圖4-9 十字形接合
----------------------------------------------------------------------------------------
二、T型接合
為木材端部與木材中部的接合方法,
一般有T型搭接、鳩尾搭接、直通方榫、裂口榫接(三缺榫)、
帶楔直通方榫、斜錐三缺榫等。(圖4-10)
![]() |
![]() |
| T形搭接 |
鳩尾搭接 |
![]() |
![]() |
| 直通方榫 | 裂口榫接 |
![]() |
![]() |
| 帶楔直通榫 | 斜錐三缺榫 |
圖4-10 T形接合
----------------------------------------------------------------------------
三、企口接合
企口接合又稱為邊緣接合,主要是使用於板料的接合,是將木板兩邊緣面分別製成凹凸槽,
相互配合,以增加其面積,常使用地板與壁板材料的接合,
常用的有半槽邊接、舌槽邊接、方栓邊接、方榫邊接、S型舌槽邊接、鳩尾舌槽邊接。(圖4-11)
![]() |
![]() |
| 半槽邊接 | 舌槽邊接 |
![]() |
![]() |
| 方栓邊接 | 方榫邊接 |
![]() |
![]() |
| 斜舌槽邊接 | 鳩尾舌槽邊接 |
圖4-11 企口接合
-----------------------------------------------------------------
四、裁口接合
裁口接合又稱邊搭接法,是將木材的兩側分別製作方向不同的邊槽,
利用其互相的搭接增加其面積,常使用於屋面板、天花板、模板等的接合。
五、缺口繼接法
當木料長度不夠時,除可用其他材料或金屬蓋板,將其對接外,
尚可使用缺口繼接的方法來達成,此法是將兩根木料的缺口部份
作成陰陽榫頭及榫孔,用以達成縱向密著接合的目的,
如斜口繼接,蟻繼接、燕尾繼接、竿繼接、十字繼接等。(圖4-13)
![]() |
![]() |
| 斜口繼接 | 蟻繼接 |
![]() |
![]() |
| 燕尾繼接 | 竿繼接 |
![]() |
|
| 十字繼接 |
圖4-13 缺口繼接
--------------------------------------------------------------------------------
日本小木屋構件生產、組裝、建造一例



http://www.woodcn.org/know/2012/0325/article_413.html


























































